|
| Vergaserkunde |
| |
Unser Vergaser funktioniert jetzt automatisch. Leider können wir nicht mehr eingreifen und steuern.
Wir brauchen eine Drosselklappe!
|

|
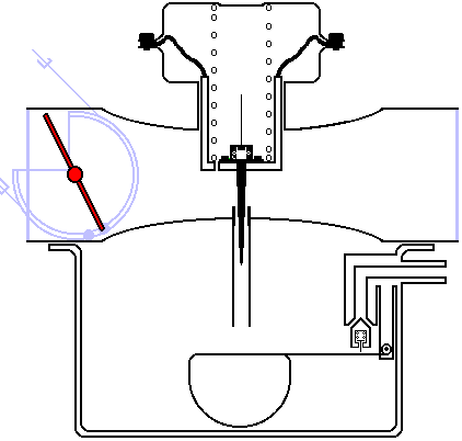
| |
Die Drosselklappe(rot) würgt bei bedarf den Luftstrom in unserem Venturirohr ab.
Wir haben wieder eine Möglichkeit der Regulierung!
Das hat nur einen Nachteil. Das Prinzip des Venturirohres läuft jetzt an unserer
Drosselklappe ab, da nun dort die engste Stelle ist, wenn sie den Querschnitt des
Vergasers fast ganz schließt.
|
| |
Was wir brauchen, ist ein kompletes System, welches Benzin an die Drosselklappe bringt,
damit es dort angesaugt werden kann.
|

|
| |
Das Benzin wird über die Leerlaufdüse(rot) angesaugt und dabei schon grob
vordosiert.Danach gelangt es an der Gemischregulierschraube (blau) in unser Venturirohr.
Damit der Benzinnebel auch schön fein ist, wird das Benzin an der Leerlaufdüse über den Leerlaufluftkanal (grün) vorgemischt.
|
|
  Vergaser IV           Vergaser VI  |